CSE-316L
Overview
Overview
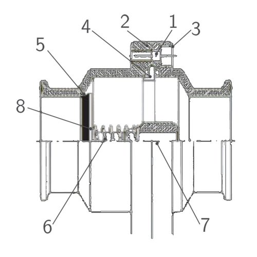
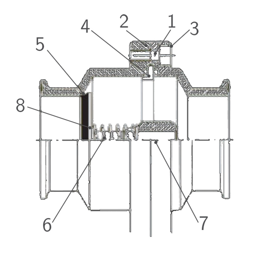
Features & Specifications
- Precision machined ASTM 316L body, stem and disc
- 25 Ra polished body and internals
- Angle design for precision open and close
- Suitable with viscous liquids
- Stainless steel spring in both Tri-Clamp® and weld end designs
- Standard VITON® seal ring, EPDM available option
- Ideal for food, pharmaceutical, dairy and other sanitary industries
- 150 PSI @ 250˚F (Approx. 121˚C)
- ½”– 6”, 4″ & 6″ use body bolts
- Vertical installation only
- » 0.5 lb crack; 1 lb open










